政策法規 || 仿制藥參比制劑目錄(第九十四批)(附法規概覽7.14-7.18)
發布時間:2025-07-18
本周熱點
01
國家藥監局關于發布仿制藥參比制劑目錄(第九十四批)及調出參比制劑目錄品種清單(第二批)的通告(2025年第26號)

掃描圖中二維碼
查看詳細信息

NMPA
01
本周共發布113項藥品批件。



CDE
01
關于將KC1036片納入《兒童抗腫瘤藥物研發鼓勵試點計劃(星光計劃)》試點項目的公示

掃描圖中二維碼
查看詳細信息

ADR
01
非處方藥轉換調經活血膠囊和生脈顆粒(黨參方)的公示

掃描圖中二維碼
查看詳細信息

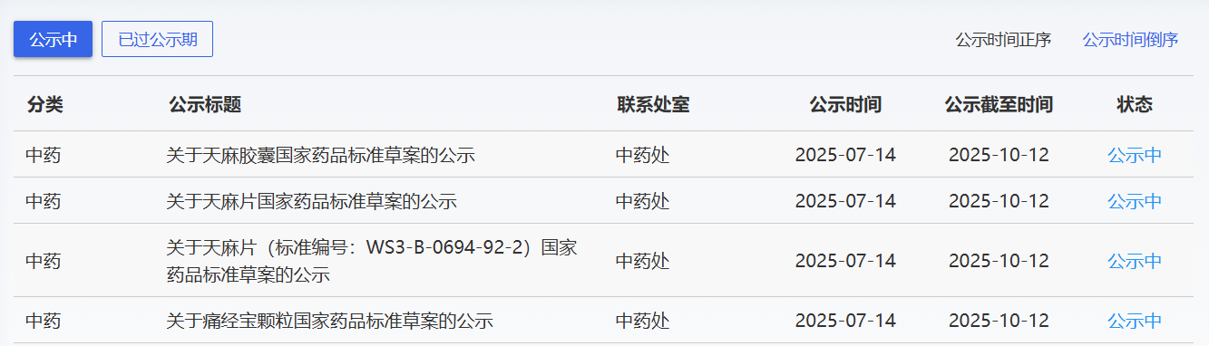
藥典委
近期,藥典委發布的標準草案公示如下:

-END-

轉載聲明:未經本網或本網權利人授權,不得轉載、摘編或利用其他方式使用上述作品。已經本網或本網權利人授權使用作品的,應在授權范圍內使用,并注明“來源:新領先醫藥科技”。

Hotline服務熱線:010-83057670
簡體中文

010-83057670
聯系地址:
技術市場部:
北京新領先
新領先藥訊
010-61006450
